板式喂料機粉礦清理裝置
板式喂料機在給料過程中,礦石物料承載在鏈板上,鏈板底部會散落大量的粉礦積渣。為清理粉礦積渣,現有的板式給礦機通常設置有清理裝置,該清理裝置包括設置于鏈板下方的接料平臺,并使用電機及鏈條帶動刮板將接料平臺上的接粉積渣礦推向下料口,然而這種清理裝置存在以下問題:鏈條受力不均衡,尾部的鏈條拉緊裝置的軸承座容易斷裂;刮板活動鏈條易跳槽,且容易斷裂;刮條跨距大,且裝置尾部存在刮礦盲區,粉礦積渣造成刮板受擠壓變形,斷裂或相互纏繞,造成電機的非正常停機,導致清理裝置維修工作量大、維修成本高。
為解決現有的重型板式給礦機清理裝置維修工作量大、維修成本高,提出一種重型板式給礦機粉礦清理裝置。
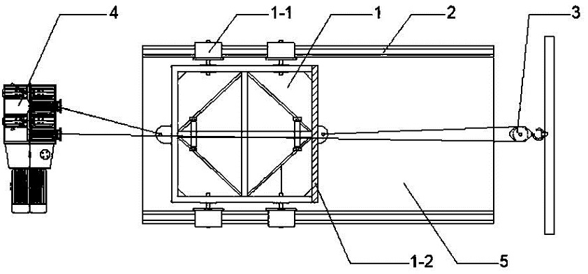
板式喂料機粉礦清理裝置,安裝在重型板式給礦機底部,該裝置包括刮料小車1、軌道2、定滑輪3以及電耙絞車4:刮料小車1由平臺、軌道輪1-1及刮板1-2組成,軌道輪1-1設置于平臺左右兩側,頭尾兩側設置拉環;平臺頂部后側設置垂直于鏈板運動方向的刮板1-2;在鏈板下方的地面上沿鏈板運動方向鋪設軌道2,刮料小車1沿軌道2運行;在鏈板尾部下方的地面上設置定滑輪3;在鏈板頭部設置電耙絞車4,電耙絞車4內包含兩個鋼繩卷筒裝置,一卷筒裝置的鋼繩固定在刮料小車1頭部的拉環,第二卷筒裝置的鋼繩穿過定滑輪3滑道固定在刮料小車1尾部的拉環上。
道底部鋪設鋼底板,方便安裝拆卸軌道,同時解決車間內地面不平整的問題。
使用時,將電耙絞車剎把同時松開,電耙的運作方式為空載狀態,兩卷筒裝置靜止;當剎把A剎車時,剎把B松閘,第二卷筒裝置收緊,途徑定滑輪的鋼繩拉動刮料小車向尾部運行,刮板將粉礦積渣推送至尾部的下料口;當剎把A松閘時,剎把B剎車,一卷筒裝置收緊,刮料小車向頭部運行,刮料小車返回休息區。刮料小車向前向后的往復運動一次,實際上完成一次物料的清理。
板式喂料機粉礦清理裝置,使鏈板底部至平臺的間距恢復,維持了檢修作業空間;檢修人員只需要巡檢各裝置的靈活性、可靠性、易損部件的磨損情況,維修方便快捷;維修只需要針對電耙絞車的易磨損件,如鋼繩和定滑輪等小備件;刮料裝置使用完成后均停留在安全區域,可在安全區域進行設備檢修,檢修不影響設備運行。

